山东海特数控机床有限公司
销售热线:13561126968

收藏本站
设为首页 | 收藏本站
在线客服
 联系方式
电话:13561126968
QQ:296147106
传真:0632-5898777
在线客服
 联系方式
电话:13561126968
QQ:296147106
传真:0632-5898777

cnc数控机床电缆夹和屏蔽处理

 二维码 195
作者:admin来源:山东海特数控机床有限公司网址:http://www.twjgzx.com

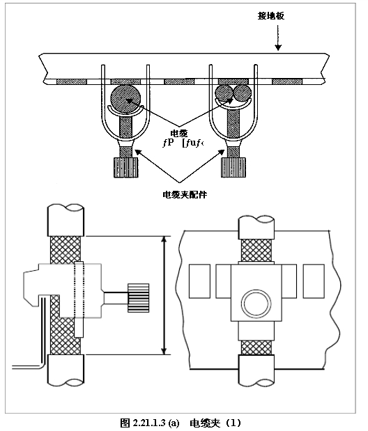
电缆夹和屏蔽处理

信号线基本上都需要进行屏蔽装夹。通过正确进行屏蔽装夹,即可控制来自外部的噪声影响。

剥除电缆的部分包覆使屏蔽外表皮露出,用电缆夹配件将该部分推压到接地板上。此时,接地板和屏蔽的接触部分成为面接触,设法增大接触面积。(见下图) 采用多点接地方式的情形下,要考虑以低阻抗来连接屏蔽装夹用接地板和电柜,如屏蔽电柜一侧接触面的涂装等。

电缆

40~80

接地板

电缆夹


注释  有关电缆的线长,请选择适当的长度。

电缆不宜过长,否则会导致抗噪声下降,并有可能诱发其他电缆产生噪声。此外,如果将多余的电缆卷绕起来处理,会导致电感增大,在信号的ON/OFF时会引发非常高的电压,从而导致故障或者因噪声引起的错误动作,应予注意。

数控加工中心,850模具加工中心,加工中心价格,台湾1260加工中心,640线加,XHS850模具加工中心,数控铣床,山东海特,山东海特数控机床 www.twjgzx.com